来源:易碳家
陕西省生态环境厅
关于印发陕西省纳入全国碳市场温室气体重点排放单位名录的通知
陕环排管函〔2024〕82号
各设区市生态环境局,杨凌示范区生态环境局:
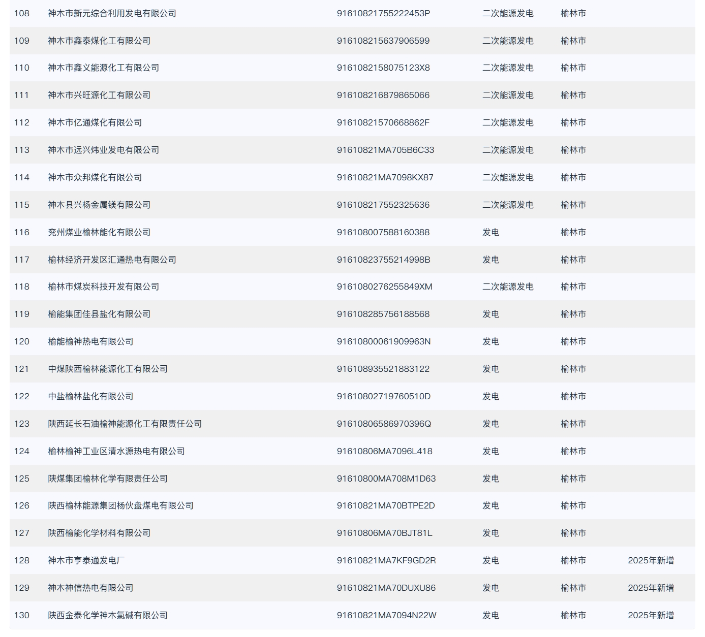
按照国务院《碳排放权交易管理暂行条例》(国务院775号令)和生态环境部办公厅《关于做好2023—2025年发电行业企业温室气体排放报告管理有关工作的通知》(环办气候函〔2023〕43号)、《关于做好2023—2025年部分重点行业企业温室气体排放报告与核查工作的通知》(环办气候函〔2023〕332号)有关规定,按照市级筛选上报、省厅审核核定的程序,省厅确定了《陕西省2025年度发电行业企业温室气体重点排放单位名录》和《陕西省2024年度其他行业温室气体重点排放单位名录》,现印发你们,请督促相关重点排放单位按照国家规定时限和要求报送温室气体排放数据。
联系人及电话:赵亚军 029-63916190
陕西省生态环境厅
2024年12月27日





特别声明:本网站转载的所有内容,均已署名来源与作者,版权归原作者所有,若有侵权,请联系我们删除。凡来源注明低碳网的内容为低碳网原创,转载需注明来源。